產品展示
您現在的位置: 首頁--產品展示
產品描述
QB1法蘭式單口排氣閥的詳細資料:
|
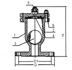
QQB1排氣閥為圓桶式閥體,其內部結構主要有不銹鋼浮球。單口排氣閥分為絲扣式和法蘭式兩種排氣閥。
主要尺寸 單位:mm
效 果 圖:(如下所示)
|
其他相關產品
|
QB1法蘭式單口排氣閥的詳細資料:
|
QQB1排氣閥為圓桶式閥體,其內部結構主要有不銹鋼浮球。單口排氣閥分為絲扣式和法蘭式兩種排氣閥。
主要尺寸 單位:mm
效 果 圖:(如下所示)
|
|